Papierwasserzeichen "Fauna"
| Datierung : |
|
|---|---|
| Objekttyp: | Historisches Papierwasserzeichen |
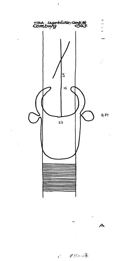
| Kurzbeschreibung: | Wasserzeichen mit dem Motiv "Fauna / Ochsenkopf / frei, mit Oberzeichen / mit einkonturiger Stange / Kreuz (einkonturig) / ohne weiteres Beizeichen / Kreuzbalken schräg / ohne Gesichtsmerkmale / Kinn rund" |
| Quelle/Sammlung: | Wasserzeichen-Informationssystem DE8085-PO-61059 |
| Weiter im Partnersystem: | https://www.wasserzeichen-online.de/?ref=DE8085-PO-61059 |
Schlagwörter
| Ortsbezüge: | |
|---|---|
| Schlagwörter: | Fauna / Ochsenkopf / frei, mit Oberzeichen / mit einkonturiger Stange / Kreuz (einkonturig) / ohne weiteres Beizeichen / Kreuzbalken schräg / ohne Gesichtsmerkmale / Kinn rund |


leobw